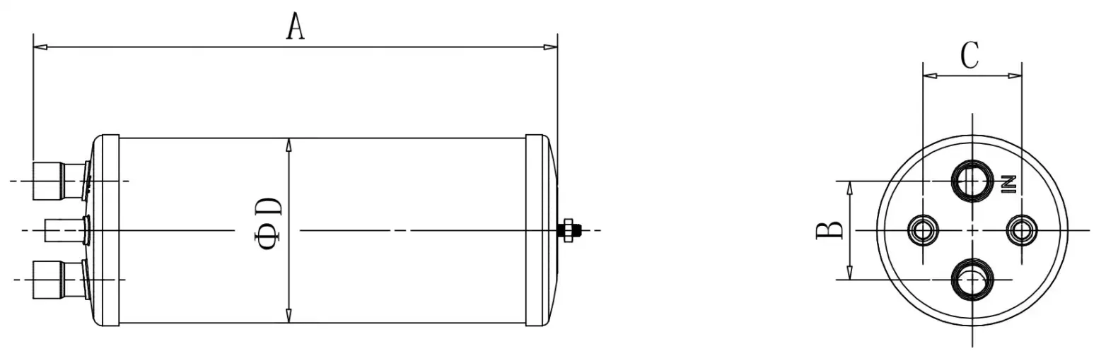
储液、分液、省能热交换器TDH
储液及分液省能热交换器采用气液分离器、储液器和热交换器组合设计,能有效调节系统液体流量功能,更能发挥冷冻能力,保证压缩机的最佳运行。
了解更多



